Моделирование магнитных характеристик вентильно-индукторных машин - page 6

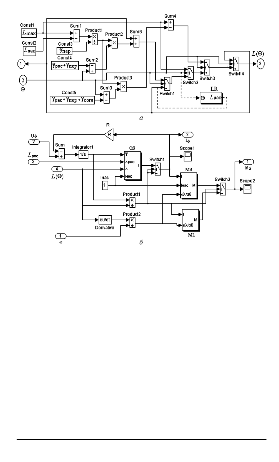
Рис. 2. Блок (
а
) формирования кривой
L
(2)
и модель
IMKLA
(
б
) для расчета
I
ф
(2)
и
M
ф
(2)
при
I
ф
>
I
нас
— субсистемой CS. Фазный момент при
I
ф
>
I
нас
форми-
руется субсистемой MS, а при
I
ф
<
I
нас
, субсистемой ML. Переключе-
ние алгоритма расчета тока
I
ф
и момента
M
ф
в функции текущего
значения фазного тока
I
ф
осуществляется блоками Switch1 и Switch2.
Падение напряжения на активном сопротивлении фазы учитывается
соответствующим значением коэффициента передачи блока R.
Именно при таком подходе к построению имитационной моде-
ли ВИМ удалось ответить на ряд важных в отношении ВИП вопро-
сов — определить условия реализации и характеристики режимов по-
стоянства выходной мощности и полного использования установлен-
ной мощности инвертора, исследовать аномальные явления в приводе,
обосновать подходы к построению алгоритмов управления с компен-
сацией пульсаций момента и т.п. [3].
Однако при исследовании некоторых других режимов работы ВИМ
принятая здесь аппроксимация ее магнитных характеристик может
62
ISSN 1812-3368. Вестник МГТУ им. Н.Э. Баумана. Сер. “Естественные науки”. 2007. № 4
1,2,3,4,5 7,8,9,10,11,12,13,14,15,16,...20
Powered by FlippingBook