Воспламенение водородно-воздушной смеси вблизи нижнего концентрационного предела - page 9

воспламенения ниже “второго продленного предела воспламенения”
(
Т
1000
K), время индукции чрезвычайно чувствительно даже к
малым изменениям температуры, что объясняет, в частности, на-
блюдаемую в экспериментах нестабильность при воспламенении и
распространении пламени вблизи нижнего концентрационного пре-
дела [27]. При численном моделировании высокая чувствительность
к температуре обуславливает сильную зависимость времени индук-
ции от выбора математической модели химической кинетики. Для
оценки возникающего в этом случае разброса результатов было рас-
считано время индукции для водородно-воздушной смеси по шести
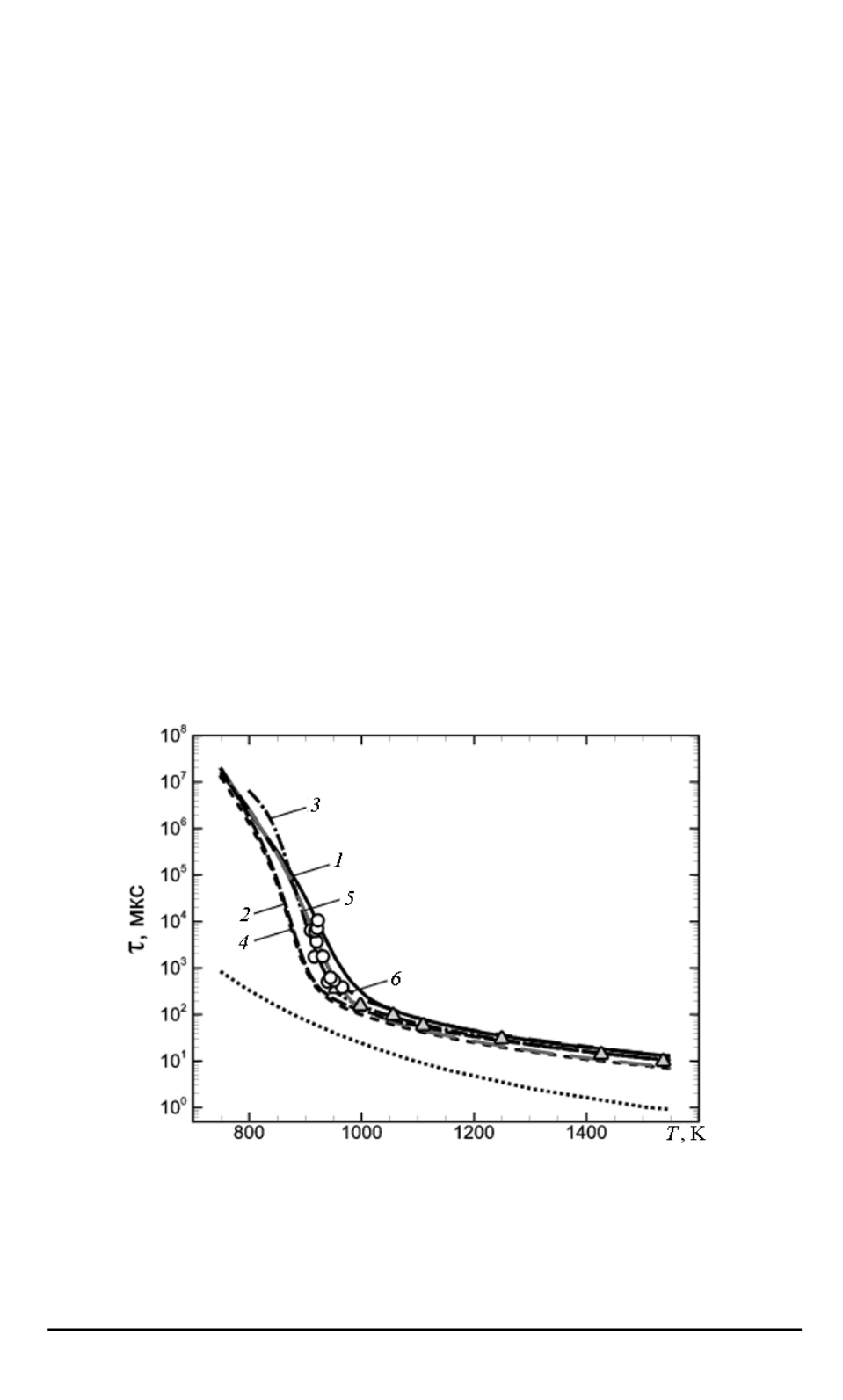
представленным выше в таблице химическим схемам. Рассчитанные
в широком диапазоне температур времена индукции приведены на
рис. 1. Для сравнения здесь же указаны и известные эксперименталь-
ные результаты.
На рис. 1 видно, что результаты, полученные на основе различных
редуцированных уравнений химической кинетики, достаточно близки
друг к другу, хорошо согласуются с данными экспериментов и, как
следовало ожидать, значительно отличаются от результатов расчета
времени индукции, полученных исходя из одноступенчатого уравне-
ния Аррениуса, константы которого были подобраны таким образом,
чтобы по возможности более точно воспроизвести ширину фронта
пламени и нормальную скорость горения. Полученное отличие под-
Рис. 1. Зависимость времени индукции в стехиометрической водородно-
воздушной смеси от температуры при нормальном давлении:
1–6
— расчетные данные, полученные по различным редуцированным схемам и по
одношаговой аррениусовской схеме (
7
). Кинетические уравнения взяты из работ [10]
(
1
), [17] (
2
), [18] (
3
), [19] (
4
), [20] (
5
), [21] (
6
);
— экспериментальные значения для
времени индукции [22] и
Δ
[23]
ISSN 1812-3368. Вестник МГТУ им. Н.Э. Баумана. Сер. “Естественные науки”. 2013. № 1
97
1,2,3,4,5,6,7,8 10,11,12,13,14,15,16,17,18,19,...20
Powered by FlippingBook