Спектр и температурная характеристика поверхностной магнитостатической волны в монокристаллической ферритовой пленке - page 4

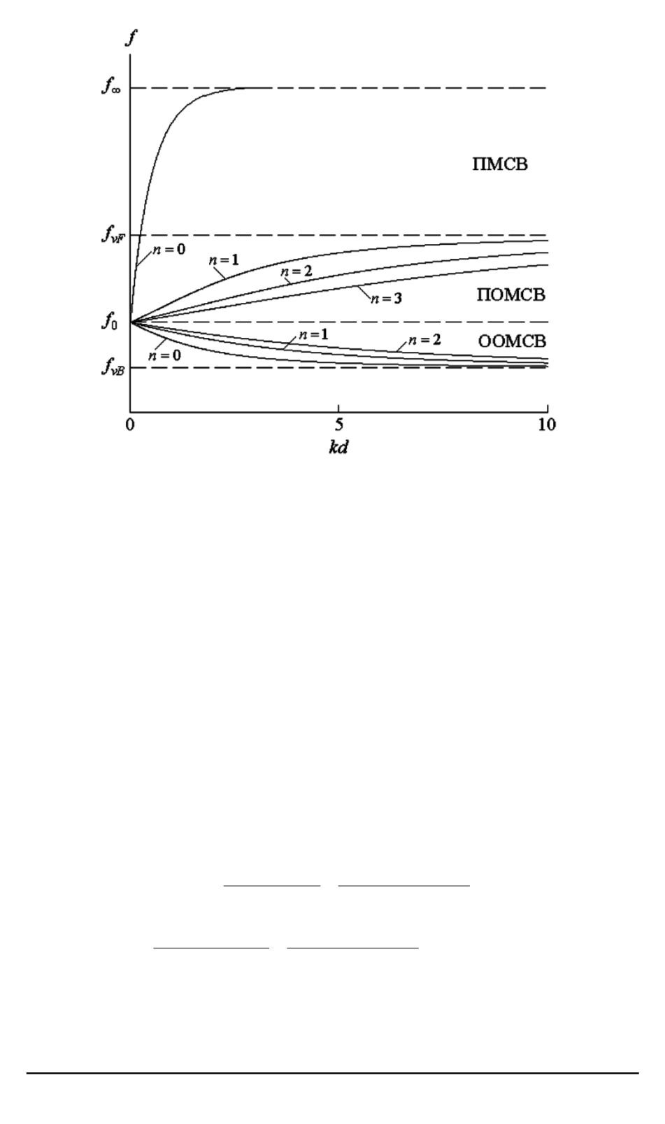
Рис. 2. Спектр МСВ в касательно намагниченной анизотропной пленке для
МСВ с волновым вектором, перпендикулярным вектору намагниченности
пленки (цифры у кривых — номера объемных мод)
начальными номерами
n
), причем дисперсионная зависимость основ-
ной моды ПОМСВ (
n
= 0
) плавно переходит в дисперсионную за-
висимость ПМСВ. Наибольший практический интерес представляет
ПМСВ с волновым вектором, направленным перпендикулярно векто-
ру намагниченности,
k
?
M
0
. В изотропной пленке объемных типов
волн с
k
?
M
0
не существует. В пленках слабоанизотропных ферритов,
к которым относится и ЖИГ, б´ольшую часть спектра МСВ с
k
?
M
0
занимает поверхностная волна. При этом дисперсионное уравнение
ПМСВ имеет вид явной аналитической зависимости частоты волны
f
от модуля волнового вектора
k
=
|
k
|
[8]:
f
2
=
f
2
0
exp (
2
kd
) +
f
2
[1
exp (
2
kd
)]
P
(
kd
)
σ
R
(
kd
)
ε,
(1)
где
P
(
kd
) =
exp (
2
kd
)
2
2
kd
1
exp (
2
kd
)
1 ;
R
(
kd
) =
1
exp (2
kd
)
1
4
kd
1
exp (
2
kd
)
+ exp (
2
kd
)
3
,
причем
P
(
kd
)
,
R
(
kd
)
0
как при
kd
0
, так и при
kd
→ ∞
. Кроме
того,
σ
= 4
π
(
M
0
g
)
2
N
c
xx
N
c
yy
;
42
ISSN 1812-3368. Вестник МГТУ им. Н.Э. Баумана. Сер. “Естественные науки”. 2013. № 3
1,2,3 5,6,7,8,9,10,11,12,13
Powered by FlippingBook