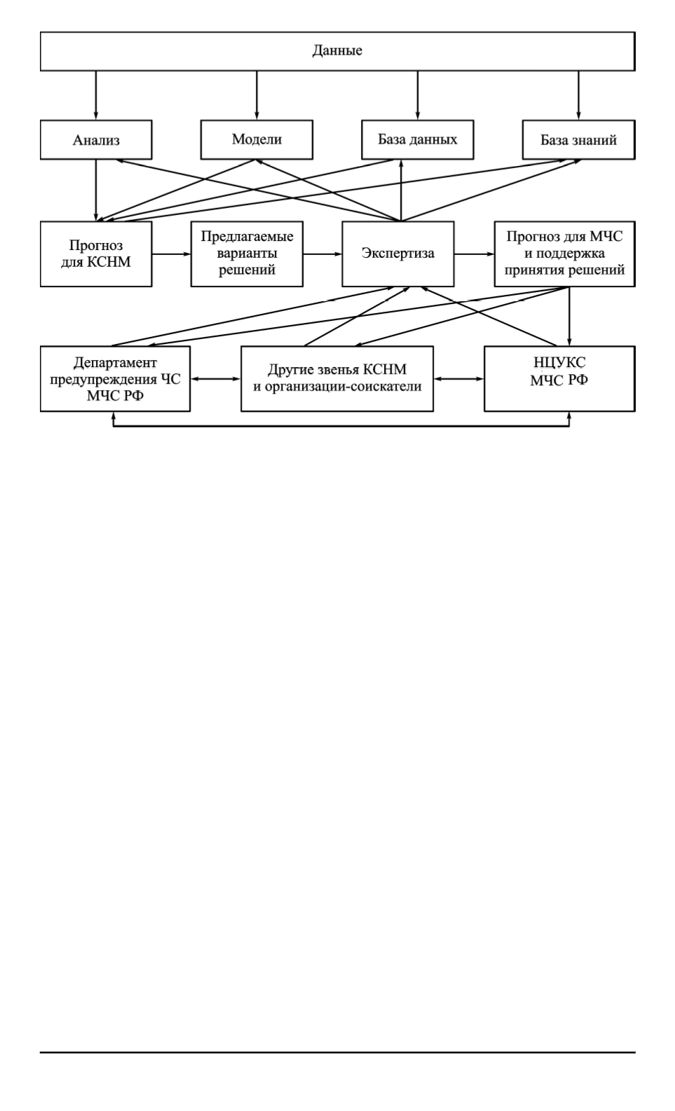
Экспериментальный стенд комплексной системы научного мониторинга. Структура и функции - page 5

Рис. 3. Принципиальная схема экспериментального стенда комплексной си-
стемы научного мониторинга (КСНМ) для поддержки Национального центра
управления кризисными ситуациями (НЦУКС)
Субъектно-ориентированный подход
ориентирован на лиц, при-
нимающих решения (а в отдельных случаях и на все общество) и
направлен на создание у них объективной картины. Как показали
многочисленные исследования [5], без специальной подготовки и ис-
пользования систем поддержки принятия решений, субъект, оценивая
ситуацию, обычно исходит не из соотношения (1), а из формулы
S
=
M
X
i
=1
g
i
(
p
i
, x
i
)
h
i
(
x
i
, p
i
)
,
(5)
где
M
— число принимаемых во внимание сценариев;
g
i
(
p
i
,
x
i
)
— субъ-
ективная вероятность, отражающая представления субъекта о возмож-
ности реализации
i
-го сценария;
h
i
(
x
i
,
p
i
)
— субъективная оценка из-
держек или прибылей при реализации
i
-го сценария.
Субъектно-ориентированное управление связано с приближением
субъективной оценки ситуации (5) лицами, принимающими решения,
к объективной (1), опирающейся на статистику, накопленный опыт,
научные исследования.
Как показывает анализ, субъективные вероятности могут суще-
ственно отличаться от оценок экспертов и реальной статистики, от-
ражающей опасность различных технологий. Например, большинство
людей попросту игнорируют события с вероятностью
10
5
, как бы
ни был велик ущерб от них. Более того, субъективная вероятность не
ISSN 1812-3368. Вестник МГТУ им. Н.Э. Баумана. Сер. “Естественные науки”. 2009. № 1
71
1,2,3,4 6,7,8,9,10,11,12,13,14,15,...23
Powered by FlippingBook